Le DB 601

Développé en 1932 par Daimler Benz suite à une demande du RLM datant de 1929, le DB600, moteur en V inversé à 60°, refroidit par liquide, fut un des premiers moteurs modernes pour avions qui fut dans la gamme des 30 litres.
Encore basé
sur la conception d'un moteur à carburateur, ses caractéristiques allaient servir de base pour toute une famille de moteur, les DB60x.
En 1935, l'étude du DB601 commence, basé sur le DB600 sur lequel le carburateur est remplacé par un système à injection, et dénommé F4E au départ. D'une cylindrée globale de 33.9 litres, et développant 1100cv au niveau de la mer à 2400 tours/min pour le DB601 A1, ce moteur fonctionne au carburant B4 à 87 indice d'octane.
Vint ensuite la version DB601 Aa, d'une puissance de 1175cv à 2500 tours/min au niveau de la mer, et dont la production en série commença en novembre 1937.

Du fait de l'utilisation du carburant C3, ce moteur interdisait l'utilisation du booster GM-1. Ce moteur fait son apparition mi 1940.
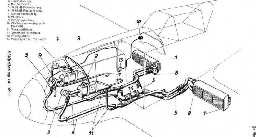
Avec la version N apparaît un nouveau système de refroidissement, constitué de 2 réservoirs à liquide de chaque coté du moteur, au niveau du bâti support.

Enfin, tout du moins en ce qui concerne le Bf109, le DB601E sera le dernier de cette série utilisé sur cet avion.
Fonctionnant au carburant B4 et disposant d'une puissance de 1350cv au niveau de la mer à 2700 tours/min.
Sa principale
différence avec le DB601A était le nouveau réducteur (rapport de 1,685).
Le DB601 fut aussi construit sous licence dans différents pays de l'axe, notamment au Japon, par Kawasaki qui en équipa le Ki-61 et par Aichi Atsuta pour équiper le M6A (https://fr.wikipedia.org/wiki/Aichi_M6A) et le D4Y1, et en Italie, par Alfa Romeo,
le Ra1000 RC41, équipant le Mc202 et le Re2001.
Cette famille de moteur équipa, au sein de la Luftwaffe, le Bf109, Bf110, Me210 notamment et fut construit à plus de 19000 exemplaires.
Caractéristiques (DB601A) :
Longueur : 1.722m
Largeur : 0.739m
Hauteur : 1.027m
Poids : 610Kg